Επιμέλεια: Γιώργος Παλληκάρης
Η ιταλική αυτοκινητοβιομηχανία γνωρίζει καλύτερα από όλους πως ο ήχος ενός γρήγορου αυτοκινήτου, όχι μόνο είναι η μισή χαρά της οδήγησης, αλλά βοηθάει τον οδηγό να έχει και καλύτερο χειρισμό.
Πριν κάνει το μεγάλο της βήμα στην ηλεκτροκίνηση, η Ferrari κατοχύρωσε πατέντα, σύμφωνα με την οποία μπορεί να ενισχύσει σε μεγάλο βαθμό τους πραγματικούς ήχους που παράγουν οι ηλεκτροκινητήρες και να προσφέρει καλύτερη οδηγική εμπειρία.
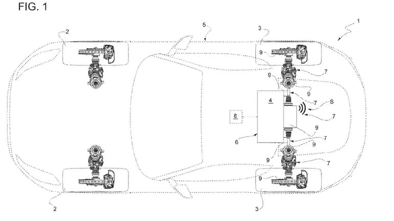
Τα σχέδια διπλωμάτων ευρεσιτεχνίας δείχνουν συγκεκριμένα μια «συσκευή αναπαραγωγής ήχου» που φαίνεται να είναι κοντά στον πίσω άξονα. Ο ήχος που αναπαράγει μπορεί να προέρχεται από ένα εξάρτημα του ηλεκτροκινητήρα ή από κάτι άλλο εντελώς (δεν μπορεί να εξακριβωθεί μόνο από τα σχέδια). Ανεξάρτητα, ο στόχος φαίνεται να είναι να συσχετιστεί αυτό που συμβαίνει φυσικά στο σύστημα μετάδοσης κίνησης με τον ίδιο τον ήχο.
Άλλες εικόνες δείχνουν τα αποτελέσματα των δοκιμών που έχουν ήδη πραγματοποιηθεί. Προς το παρόν, η τεχνολογία είναι πειραματική, αλλά η εικόνα τρία στα έγγραφα φαίνεται να δείχνει ότι η Ferrari έχει ήδη διαφορετικούς ήχους με βάση την ταχύτητα του κινητήρα. Εξάλλου μη ξεχνάμε ότι η ιταλική βιομηχανία είναι από τις καλύτερες στον κόσμο στον συντονισμό των ήχων από μοτέρ, με τα μοντέλα της να έχουν το καθένα τη δική του ηχητική υπογραφή.
Σε ένα σπορ αυτοκίνητο υψηλών επιδόσεων, ο ήχος που παράγεται από τον κινητήρα είναι σημαντικός, από την μία ως μέρος της «οδηγικής απόλαυσης» αλλά από την άλλη, δίνει στον οδηγό πληροφορίες για κάθε στιγμή της κατάστασης του αυτοκινήτου.
Όσοι έχουν οδηγήσει ένα γρήγορο ηλεκτρικό αυτοκίνητο πιθανότατα θα καταλάβουν πώς η έλλειψη ήχου κινητήρα μπορεί να αποδειχθεί πρόκληση και να διαμορφώνει άλλη ατμόσφαιρα. Το ηχητικό αποτύπωμα ενός κινητήρα εσωτερικής καύσης μπορεί να πει στον οδηγό πολλά για την κατάσταση του οχήματος. Αν όλα αυτά ακούγονται κάπως οικεία, αυτό μπορεί να οφείλεται στο γεγονός ότι η Dodge έχει κάνει λόγο για μια παρόμοια τεχνολογία. Όταν αποκάλυψε το Charger Daytona SRT EV Concept, ανέδειξε ένα σύστημα εξάτμισης Fratzonic που έκανε σε μεγάλο βαθμό το ίδιο πράγμα. Καθώς ένας αισθητήρας στο αυτοκίνητο ανιχνεύει αύξηση στην ταχύτητα κίνησης, παράγει έναν αντίστοιχο ήχο μέσω ενός ενισχυτή.
Αξίζει να σημειωθεί ότι η προσθήκη θορύβου στα EV είναι κάτι πάνω στο οποίο εργάζονται πολλές μάρκες καθώς δεν είναι και λίγες οι φορές που οι πεζοί δεν ακούν ένα ηλεκτρικό αυτοκίνητο και υπάρχουν θέματα ασφαλείας.

