Επιμέλεια: Δημήτρης Διατσίδης
Το θέμα του V4 κινητήρα απασχολεί τη Honda εδώ και δεκαετίες. Στη μαζική παραγωγή, η ιδέα έχει εγκαταλειφθεί εδώ και καιρό, αλλά ένα νέο δίπλωμα ευρεσιτεχνίας, δείχνει έναν καινούργιο κινητήρα V4 με ενδιαφέρουσες λεπτομέρειες.
Η Honda και ο V4 έχουν μακρά ιστορία από το 1982 έως το 2020, όπου η Honda κατασκεύαζε συνεχώς μοντέλα με V4, με την ονομασία VF, που κατά καιρούς συμπληρωνόταν με το R. Το VF σημαίνει “V Four”, ενώ το R σημαίνει “Race”, όταν επρόκειτο για σπορ μοντέλο.
Έκτοτε εμφανίζονταν κατά διαστήματα μικρές ενδείξεις για έναν πιθανό νέο V4 από την Honda. Ποτέ όμως τόσο συγκεκριμένες όσο τον Δεκέμβριο του 2025.
Η Honda κατοχύρωσε συνολικά δύο πατέντες που αφορούν τεχνικές καινοτομίες στο πλαίσιο ενός νέου κινητήρα V4.
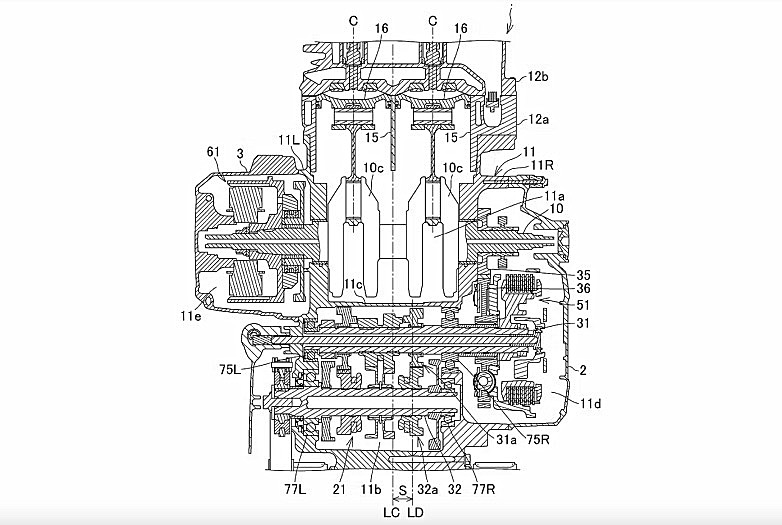
Η μία πατέντα προστατεύει ένα νέο κύκλωμα λαδιού, το οποίο είναι σχεδιασμένο ώστε να μειώνει την εσωτερική τριβή των αντλιών λαδιού.

Επιπλέον, η Honda κατοχύρωσε έναν τρόπο στερέωσης της κυλινδροκεφαλής στο κάρτερ. Για την εικονογράφηση, ωστόσο, χρησιμοποιεί έναν δικύλινδρο σε σειρά R2, ο οποίος στην ουσία είναι ο μισός V4.
Η δεύτερη πατέντα δείχνει έναν νέο τρόπο ψύξης του V4 κινητήρα, με σωληνώσεις ανάμεσα στις δύο σειρές κυλίνδρων, δίνοντας προτεραιότητα στην ψύξη της πίσω σειράς.

Ενδιαφέρον στοιχείο αυτών των πατεντών: ενώ η προηγούμενη πατέντα για τον V4 κινητήρα της Honda έδειχνε ελάχιστα από τον ίδιο τον κινητήρα, οι τωρινές σχεδιαστικές απεικονίσεις έχουν εντυπωσιακό βάθος λεπτομερειών.
Αυτό υποδηλώνει ότι η Honda βρίσκεται πιθανότατα σε πολύ πιο προχωρημένο στάδιο από μια απλή κατάθεση πατέντας.

Ο νέος V4 της Honda σε λεπτομέρειες
Όσοι θυμούνται τον τελευταίο μεγάλο V4 κινητήρα της Honda γνωρίζουν ότι επρόκειτο για έναν τεράστιο κινητήρα με πολύ πάχος να διακρίνεται στις τομές του.
Κατά συνέπεια, ο κινητήρας της VFR 1200 ήταν ιδιαίτερα βαρύς. Μόνο το ενδιάμεσο νεύρο ανάμεσα στους δύο μπροστινούς κυλίνδρους είχε πάχος αρκετών εκατοστών.
Σύμφωνα με τη δική της περιγραφή, η Honda στοχεύει τώρα στη μείωση της πολυπλοκότητας στην κατασκευή και τη συναρμολόγηση.

Αντίστοιχα, ο νέος V4 στις απεικονίσεις φαίνεται πολύ πιο συμπαγής. Ιδίως το ενιαίο κέλυφος κινητήρα–κιβωτίου δείχνει εντυπωσιακά μικρό.
Ίσως αυτό να οφείλεται στο νέο σύστημα λίπανσης, με λιγότερες μακριές σωληνώσεις μέσα στο κάρτερ, καθώς η Honda σκοπεύει να βελτιστοποιήσει τη λίπανση του συμπλέκτη και της αντλίας νερού μέσω μικρών βοηθητικών δεξαμενών λαδιού μέσα στο κάρτερ.

Big-Bang V4 από την Honda;
Το ιδιαίτερο στοιχείο του τελευταίου V4 κινητήρα 1200 της Honda ήταν ο στρόφαλος και η γωνία των κυλίνδρων.
Οι άξονες του στροφάλου είχαν μετατόπιση 28 μοιρών και οι κύλινδροι άνοιγαν σε γωνία 76 μοιρών.
Αυτό παρήγαγε μια διάταξη ανάφλεξης τύπου Big-Bang με ακολουθία 104–256–104–256 μοιρών.
Έτσι, ο V4 δεν χρειαζόταν αντικραδασμικό άξονα, κάτι που θα ταίριαζε στη φιλοσοφία απλοποίησης που περιγράφει η Honda στις πατέντες της.
Αντίθετα, οι παλαιότεροι κινητήρες των 750 και 800 κυβικών είχαν γωνία κυλίνδρων 90 μοιρών και στρόφαλο 180 μοιρών.
Πρόκειται για έναν κλασικό “screamer” κινητήρα με ομοιόμορφη ανάφλεξη, ο οποίος όμως απαιτεί αντικραδασμικό άξονα για την εξουδετέρωση των κραδασμών.
Οι πιο πρόσφατες πατέντες της Honda, παρά την πληθώρα λεπτομερειών, δεν δίνουν απολύτως ξεκάθαρη εικόνα.
Αν και ο αντικραδασμικός άξονας αναφέρεται ξεκάθαρα και τα έμβολα δεν έχουν μετατόπιση μεταξύ τους, η ακριβής γωνία των κυλίνδρων του V4 δεν μπορεί να προσδιοριστεί με βεβαιότητα.
Με μια πρώτη ματιά, φαίνεται να πλησιάζει περισσότερο τις 90 μοίρες παρά τις 76, κάτι που θα υποδείκνυε ομοιόμορφη σειρά ανάφλεξης.
Αυτό σημαίνει ότι ο νέος V4 της Honda πιθανότατα θα έχει διαφορετικό ήχο από τους σημερινούς V4 της Aprilia με γωνία 65 μοιρών και στρόφαλο 180 μοιρών, ή από τον V4 της Ducati με γωνία 90 μοιρών και στρόφαλο 70 μοιρών.

Αν η Honda κατασκευάσει πράγματι αυτόν τον V4 κινητήρα και πολλά συνηγορούν υπέρ αυτού, τότε, σύμφωνα με τις πατέντες, δεν θα προσφέρεται άξονας μετάδοσης στη νέα σειρά VFR.
Η Honda αναφέρεται ξεκάθαρα σε μετάδοση της κίνησης στον πίσω τροχό μέσω αλυσίδας.
Παρότι οι κατασκευαστές συχνά αφήνουν «παραθυράκια» στις πατέντες για εναλλακτικές εκδόσεις, σε αυτή την περίπτωση η Honda δεν αφήνει πολλά περιθώρια ερμηνείας.
Πότε θα έρθει ο νέος V4 της Honda;
Αν η Honda φέρει πράγματι αυτόν τον V4 κινητήρα στην παραγωγή, θα χρειαστεί ακόμη χρόνος. Οι δύο πατέντες κατατέθηκαν μόλις τον Μάιο του 2024 και δημοσιοποιήθηκαν στα τέλη του 2025.
Με βάση την εμπειρία, στα επόμενα δύο χρόνια θα υπάρξουν ελάχιστες έως καθόλου ενδείξεις για έναν πραγματικά νέο κινητήρα.
Η Honda κατέθεσε τις δύο νέες πατέντες για τον V4 κινητήρα, οι οποίες στοχεύουν στη μείωση της τριβής και στη βελτιωμένη ψύξη.
Ο νέος κινητήρας θα μπορούσε να είναι πιο συμπαγής και ελαφρύτερος από τα προηγούμενα μοντέλα. Αυτή τη φορά δεν αναμένεται άξονας μετάδοσης, αλλά αποκλειστικά αλυσίδα.
Ωστόσο, η μαζική παραγωγή νέων μοντέλων με V4 κινητήρα της Honda ενδέχεται να αργήσει αρκετά χρόνια.
