Επιμέλεια: Γιώργος Παλληκάρης
Στις 10 Οκτωβρίου 2023, η Ford κατέθεσε στο Γραφείο Διπλωμάτων Ευρεσιτεχνίας και Εμπορικών Σημάτων των ΗΠΑ, μία πεντασέλιδη περιγραφή της νέας της ιδέας. Μίας απλή αλλά σωτήριας ιδέας.
Η Ford σκέφτεται να φτιάξει σκιάδια για οδηγό – συνοδηγό, τα οποία σε κατάσταση εγκλωβισμού, να είναι σε θέση να σπάσουν το τζάμι και να προσφέρουν διέξοδο.

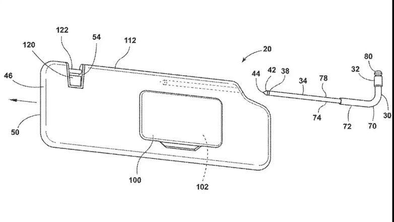
Αρκετές εικόνες στην πατέντα δείχνουν ένα κανονικό σκιάδιο που θα μπορούσατε να βρείτε σε οποιοδήποτε όχημα. Είναι τοποθετημένο (όπως σχεδόν όλα) σε μια μεταλλική ράβδο, η οποία σας επιτρέπει να το γυρίσετε ανάλογα με τη θέση του ήλιου και να έχετε ίσκιο.
Το συγκεκριμένο όμως, αντί να είναι μόνιμα τοποθετημένο στη ράβδο, μπορεί να αφαιρεθεί για να αποκαλύψει ένα αιχμηρό άκρο, δίνοντάς σας ένα μικρό εργαλείο που, θεωρητικά, μπορεί να σπάσει ένα παράθυρο.

Είναι όμως πρακτικό; Τα περισσότερα εργαλεία θραύσης τζαμιών έχουν σχήμα μικρού σφυριού. Το δίπλωμα ευρεσιτεχνίας δεν μιλάει για το μέγεθος αυτού του ενσωματωμένου σπαστήρα γυαλιού, αλλά κάνει σημαντική αναφορά στην καμπύλη σχήματος L στο σχεδιασμό. Το αν αυτό θα προσφέρει αρκετό κράτημα σε ένα άτομο για να σπάσει ένα παράθυρο είναι, ειλικρινά, κάτι που ελπίζουμε να μη χρειαστεί να μάθουμε ποτέ.
Φυσικά, βλέπουμε πολλές πατέντες που δεν προχωρούν ποτέ πέρα από αυτό το στάδιο, οπότε δεν μπορούμε να πούμε αν αυτό θα δούμε ποτέ τη ζωή σε ένα όχημα παραγωγής. Αν και η αλήθεια είναι ότι μοιάζει πολύ απλό και πολύ έξυπνο ταυτόχρονα.

