Θεωρείται πρωτοπόρος στον τομέα της ασφάλειας, παρουσιάζοντας κατά καιρούς τα πιο εξελιγμένα συστήματα και τεχνολογίες. Πρόσφατα, η γερμανική εταιρεία κατοχύρωσε έναν νέο τύπο αερόσακο, για την προστασία των πεζών.

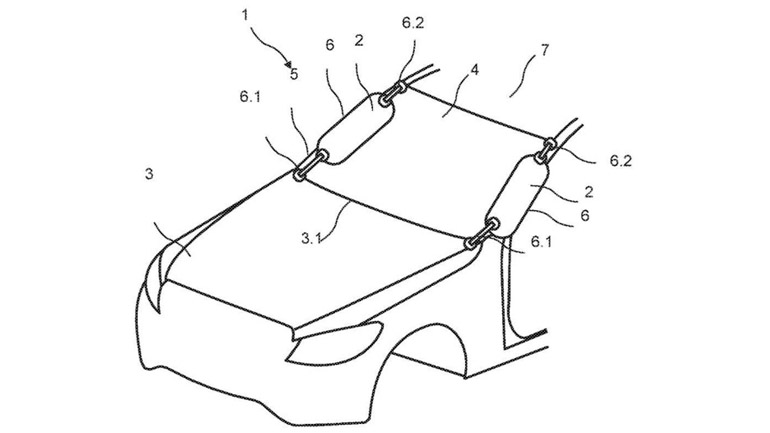
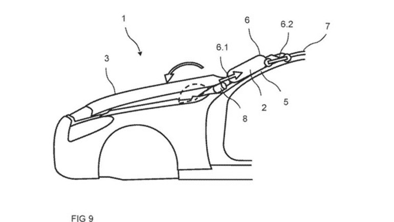
Στην πατέντα που κατοχυρώθηκε, φαίνονται δύο αερόσακοι που είναι τοποθετημένοι στις εμπρός κολόνες του αμαξώματος. Πρόκειται για υφασμάτινους αεροθάλαμους που ενεργοποιούνται όπως οι γνωστοί αερόσακοι καμπίνας.

Σε περίπτωση που οι αισθητήρες ανιχνεύσουν σύγκρουση με πεζό, εκρήγνυνται σε κλάσματα του δευτερολέπτου δημιουργώντας ένα μαξιλάρι ασφαλείας και προστατεύοντας κυρίως, το κεφάλι και τον λαιμό. Οι αερόσακοι θα λειτουργούν σε συνεργασία με το σύστημα εντοπισμού πεζού ή ποδηλάτη και το ενεργό καπό.
Ακόμη δεν γνωρίζουμε σε ποιο στάδιο εξέλιξης βρίσκεται το πρωτοποριακό σύστημα και πότε θα χρησιμοποιηθεί στα αυτοκίνητα παραγωγής.
Επιμέλεια: Λουκάς Παπαλάμπρος

