του Νεκτάριου Διατσίδη
Θα μπορούσε να είναι η πρώτη καλή ηλεκτρική σπορ μοτοσυκλέτα υψηλών επιδόσεων από έναν μεγάλο κατασκευαστή όπως η Yamaha, καθώς δεν έχουμε δει ακόμη να μπαίνουν στην αγορά οι μεγάλοι κατασκευαστές σε μια κατηγορία που το μεγάλο βάρος της μπαταρίας επιβαρύνει και τις επιδόσεις. Και αυτό είναι που κάνει μια από τις πιο πρόσφατες πατέντες της Yamaha τόσο εντυπωσιακή.
Έχει γίνει αρκετή συζήτηση γύρο από το θέμα των επιδόσεων των ηλεκτρικών οχημάτων αλλά και του βάρους των μπαταριών, που για να περιοριστεί υπάρχει και ο περιορισμός της αυτονομίας. Και ενώ η SR/S της Zero φέρει τη σημαία της σπορ ηλεκτρικής μοτοσυκλέτας, αυτή δεν είναι ανταγωνιστική σε μια κατηγορία υψηλών επιδόσεων superbike. Αυτό το δίπλωμα ευρεσιτεχνίας, ωστόσο, φαίνεται να δείχνει μία ηλεκτρική σπορ μοτοσυκλέτας με κάποια αίσθηση που υποστηρίζει τα απαιτούμενα τεχνικά χαρακτηριστικά.

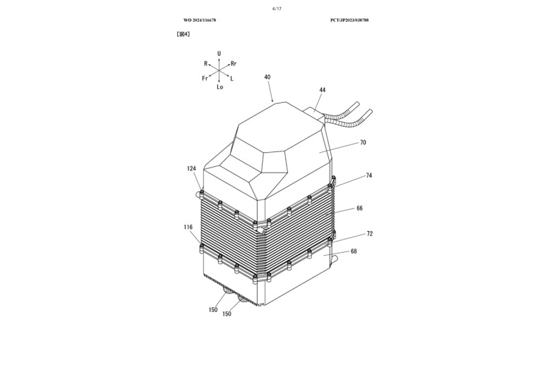
Για αρχή, υπάρχει ένας μεγάλος ηλεκτροκινητήρας στην αντίστοιχη περιοχή του κιβωτίου ταχυτήτων και μια μπαταρία όπου συνήθως βλέπαμε έναν κινητήρα εσωτερικής καύσης. Αυτό δεν σημαίνει απαραίτητα ότι η μοτοσυκλέτα θα είναι πολύ σπορ, αλλά υπάρχουν μερικά άλλα χαρακτηριστικά που υποδεικνύουν ότι θα μπορούσε να είναι, όπως τα δισκόφρενα τεσσάρων εμβόλων μπροστά. Και μετά υπάρχει η προφανής μέθοδος εξοικονόμησης βάρους, όπου το δίπλωμα ευρεσιτεχνίας δείχνει μια αερόψυκτη μπαταρία, αν και ορισμένες ηλεκτρικές μοτοσυκλέτες υψηλής απόδοσης χρησιμοποιούν υδρόψυκτες μπαταρίες.
Το πλεονέκτημα της λειτουργίας μιας αερόψυκτης μπαταρίας είναι η σημαντική εξοικονόμηση βάρους, καθώς η Yamaha δεν θα χρειαστεί να τοποθετήσει όλες τις σωληνώσεις, τις αντλίες, τα ψυγεία και τους αισθητήρες που είναι απαραίτητα εξαρτήματα για τη λειτουργία ενός συστήματος υγρής ψύξης. Μια αερόψυκτη μπαταρία θα πρέπει επίσης να συμβάλλει στη μείωση του κόστους, κάτι που είναι υπέροχο να βλέπουμε, καθώς οι υψηλές τιμές για τις ηλεκτρικές μοτοσυκλέτες θα μπορούσαν να εμποδίσουν την επόμενη γενιά αναβατών να δοκιμάσουν αυτήν την κατηγορία.

Τα πτερύγια κατά μήκος των πλευρών της μπαταρίας βοηθούν στην ψύξη της σε αυτό το μοντέλο. Αυτά τα πτερύγια αυξάνουν την επιφάνεια μετάδοσης θερμότητας για την ψύξη και προσθέτουν περισσότερη ακαμψία στη μοτοσυκλέτα, οπότε ουσιαστικά δεν προσθέτουν βάρος. Στις σπορ επιδόσεις αυτού του μοντέλου προστίθεται ένα πλαίσιο χωροδικτύωμα και ένα ψαλίδι από αλουμίνιο.
Αν και η μοτοσυκλέτα έχει πλήρη φέρινγκ, αυτή η σχεδίαση αφήνει αρκετά μεγάλο μέρος του πλαισίου εμφανές. Μπορούμε επίσης να δούμε ότι ο ηλεκτροκινητήρας εδράζεται αρκετά πίσω για να αφήνει περισσότερο χώρο για τις μπαταρίες. Έχοντας τον ηλεκτροκινητήρα τόσο πίσω σημαίνει ότι οι σχεδιαστές έπρεπε να τοποθετήσουν το πίσω αμορτισέρ αρκετά ψηλά. Στο μπροστινό μέρος, το ανάποδο πιρούνι φροντίζει για την απόσβεση.

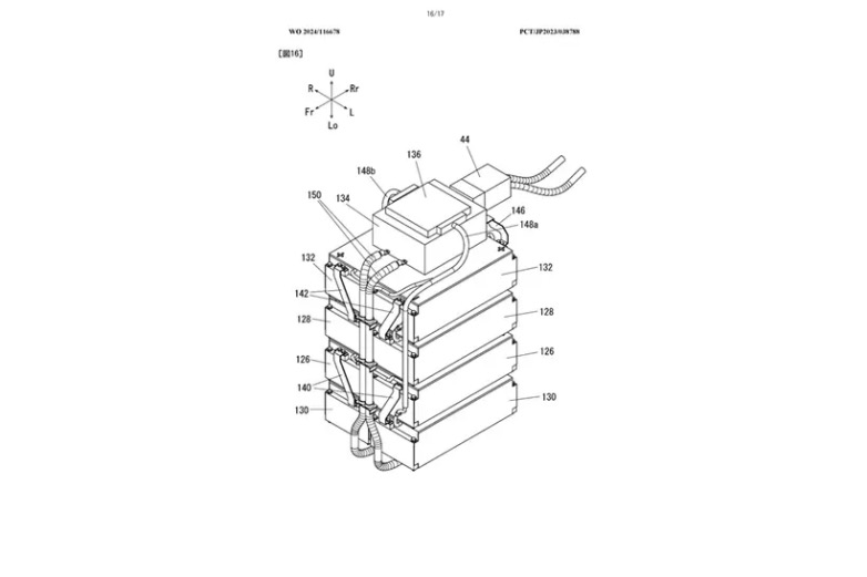
Πάνω από το πίσω αμορτισέρ και κάτω από τη σέλα, βρίσκεται η ενσωματωμένη μονάδα φόρτισης. Το σύστημα διαχείρισης της μπαταρίας και το ηλεκτρονικό σύστημα ελέγχου βρίσκονται στο μπροστινό μέρος της μοτοσυκλέτας, πάνω από τη μπαταρία. Ανάμεσα στη μονάδα φόρτισης και το σύστημα διαχείρισης της μπαταρίας βρίσκεται ο μετατροπέας.
Το πρωτότυπο αυτό μοντέλο, ίσως να το δούμε στην EICMA που είναι προ των πυλών και αναμφίβολα με μια μεγάλη εκδήλωση θα υπάρχει περισσότερο ενδιαφέρον από το κοινό. Αλλά το πραγματικό ερώτημα είναι ποια θα είναι η ισχύς του ηλεκτροκινητήρα που φαίνεται αρκετά μεγάλος. Από το δίπλωμα ευρεσιτεχνίας και με βάση την παραγωγή συστημάτων μετάδοσης κίνησης από την Yamaha για παροχή και σε άλλους κατασκευαστές, η ισχύς των κινητήρων αυτών κυμαίνεται από 35 kW (47 ίππους) έως 350 kW (470 ίππους). Ο κινητήρας των 350 kW προορίζεται για να τοποθετηθεί στο Subaru STI E-RA EV, οπότε μπορεί η Yamaha να κάνει την υπερβολή για μια μοτοσυκλέτα. Πιστεύουμε ότι η Yamaha θα αποκαλύψει μία σπορ ηλεκτρική μοτοσυκλέτα στη φετινή EICMA και το πιο σημαντικό είναι να τη δούμε στην πράξη με πολύ δυνατό ηλεκτροκινητήρα αλλά και καλή αυτονομία.
