Ποιος μας λέει ότι οι τροχοί μιας μοτοσυκλέτας πρέπει να παίρνουν ίδια κλίση με την υπόλοιπη μοτοσυκλέτα; Σίγουρα όχι η Kawasaki!
Οι ανήσυχοι μηχανικοί της φίρμας του Akashi συνεχίζουν να ψάχνουν λύσεις για το μέλλον και μετά την ιδέα μιας υβριδικής μοτοσυκλέτας (δείτε εδώ) πατεντάρουν μια πραγματικά ριζοσπαστική κατασκευή. Και τι μας λένε τα σχέδια που κατέθεσαν στην αρμόδια επιτροπή;

Ότι οι τροχοί μιας μοτοσυκλέτας δεν πρέπει υποχρεωτικά να κλίνουν στην ίδια γωνία με αυτή της υπόλοιπης μοτοσυκλέτας! Κι όμως, η Kawasaki πατεντάρισε τις ευρεσιτεχνίες που βλέπετε στα σκίτσα που παραθέτουμε, οι οποίες -αν μη τι άλλο- είναι πραγματικά ανατρεπτικές. Κοιτάζοντας τις εικόνες μπορεί να νομίσει κάποιος ότι κάτι έχει σπάσει πάνω στη μοτοσυκλέτα, μιας και αυτή κλίνει προς τη μία πλευρά και οι τροχοί προς την άλλη! Στην πραγματικότητα δεν υπάρχει κάποιο πρόβλημα, αφού η ιαπωνική εταιρεία μάς λέει ότι οι τροχοί μπορούν να είναι κάθετοι και να απολαμβάνουν πλήρη πρόσφυση με την άσφαλτο, ενώ μοτοσυκλέτα και αναβάτης θα είναι «τάπα» κάτω, σέρνοντας γόνατα, αγκώνες και… αφτιά.

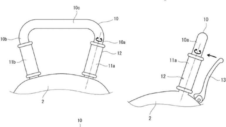
Σε αντίθεση με τις συμβατικές μοτοσυκλέτες, όπου το τιμόνι περιστρέφεται μέσα στον λαιμό του πλαισίου σε έναν επικλινή άξονα, στο πρωτότυπο της Kawasaki το τιμόνι έχει σχήμα «U» και είναι σταθερά στερεωμένο στο πλαίσιο της μοτοσυκλέτας! Δηλαδή δεν κινείται! Η πρωτότυπη μοτοσυκλέτα χρησιμοποιεί ένα σύστημα το οποίο επιτρέπει στους τροχούς να κινούνται ανεξάρτητα από το ίδιο το πλαίσιο και έτσι επιτυγχάνονται εξωπραγματικές γωνίες κλίσης με ασφάλεια και πρωτόγνωρη πρόσφυση. Δυστυχώς για τους παραδοσιακούς μοτοσυκλετιστές, λάτρεις των κινητήρων εσωτερικής καύσης (για τους περισσότερους από εμάς δηλαδή…), η μοτοσυκλέτα, αν γίνει ποτέ πραγματικότητα, θα πρέπει να είναι ηλεκτρική.

Ο ηλεκτροκινητήρας που θα χρησιμοποιεί θα τοποθετηθεί αναγκαστικά πάνω στα κέντρα των τροχών, αλλιώς δεν θα έχουν τη δυνατότητα να πάρουν κλίσεις σε διαφορετικές γωνίες από το υπόλοιπο σώμα της μοτοσυκλέτας. Και αυτό γιατί αν υπήρχε αλυσίδα κίνησης ή άξονας ή ιμάντας, ο πίσω τροχός θα ήταν υποχρεωμένος να πάρει κλίση ίδια με αυτή της μοτοσυκλέτας. Με τους ηλεκτροκινητήρες μέσα στους τροχούς, το Kawasaki εξαλείφει αυτό το πρόβλημα! Κατά πόσο, άραγε, μια τόσο ριζοσπαστική ιδέα θα μπορούσε να γίνει πραγματικότητα; Το πιθανότερο είναι ότι δεν θα τη δούμε να υλοποιείται στο άμεσο μέλλον, αλλά βγάζουμε το καπέλο μας στους μηχανικούς-εφευρέτες της Kawasaki για αυτήν την εξαιρετική ιδέα, που μπορεί να αλλάξει για πάντα τη βασική δομή και τα περιθώρια ασφαλείας των μοτοσυκλετών.
Πηγή: Motorbike.gr

