του Νεκτάριου Διατσίδη
Λίγο μετά την ανακάλυψη του επερχόμενου πλήρως ηλεκτρικού τετράτροχου RZR UTV της Polaris, έχουμε άλλη μία συναρπαστική ανακάλυψη διπλώματος ευρεσιτεχνίας. Αυτή όμως αφορά το χιόνι.
Με τον κόσμο να στρέφεται προς τα πλήρως ηλεκτρικά οχήματα και την εσωτερική πίεση της Polaris για αυτά τα οχήματα χάρη σε συνδυασμό ζήτησης, κρατικών επιδοτήσεων και παγκόσμιων απαιτήσεων εκπομπών, έχουμε δει την εταιρεία να λανσάρει πρώτα το πλήρως ηλεκτρικό Ranger, το οποίο πιθανότατα θα ακολουθηθεί από το προαναφερθέν RZR. Αλλά τώρα, με βάση ένα δίπλωμα ευρεσιτεχνίας που οι συνάδελφοι της ιστοσελίδας RadeApart βρήκαν τα στοιχεία από τον αντίστοιχο Οργανισμό Βιομηχανικής Ιδιοκτησίας της Αμερικής, φαίνεται ολοένα και πιο πιθανό ότι η Polaris είναι έτοιμη να ακολουθήσει τα βήματα των Ski-Doo και Taiga και να λανσάρει ένα πλήρως ηλεκτρικό snowmobile.

Το όχημα αυτό που είναι σχεδιασμένο για να κινείται στο χιόνι, διαθέτει επίσης τεχνολογία Formula 1, κάνοντάς το αρκετά γρήγορο. Σύμφωνα με το δίπλωμα ευρεσιτεχνίας που δημοσιεύτηκε από την Polaris Industries Inc και με τίτλο “Electric Snowmobile”, έχει προφανώς ηλεκτρικό σύστημα μετάδοσης κίνησης. Το ηλεκτρικό σύστημα μετάδοσης κίνησης μπορεί να περιλαμβάνει έναν ή περισσότερους ηλεκτρικούς κινητήρες για την κίνηση ενός ή περισσότερων τροχών εντός της ερπύστριας. Το ηλεκτρικό σύστημα μετάδοσης κίνησης μπορεί να περιλαμβάνει αρκετές μονάδες μπαταριών. Τουλάχιστον μία από τις μονάδες μπαταριών μπορεί να είναι μέρος του δομικού πλαισίου του snowmobile. Τουλάχιστον μία από τις μονάδες μπαταριών μπορεί να υποστηρίζεται από το τούνελ του snowmobile».

Σύμφωνα με τα παραπάνω πρόκειται για ένα ηλεκτρικό snowmobile Polaris. Βάσει των σχεδίων που περιλαμβάνονται, είναι πιθανό να ενσωματωθεί στην σειρά των snowmobile της Polaris. Οι μπαταρίες που τροφοδοτούν τους ηλεκτροκινητήρες φαίνεται να βρίσκονται κάτω από τη σέλα και πάνω από το τούνελ, με τον ένα ηλεκτροκινητήρα ή τους περισσότερους να παραμένουν κάτω απο το κύριο σώμα. Πώς όλα αυτά λειτουργούν όσον αφορά την αποβολή θερμότητας; ένα μεγάλο ζήτημα για τα περισσότερα snowmobile.

Αυτό που είναι γνωστό είναι ότι το δίπλωμα ευρεσιτεχνίας δηλώνει ότι, σε αντίθεση με άλλα ηλεκτρικά οχήματα, αυτό το snowmobile θα διατηρεί μετάδοση συνεχώς μεταβαλλόμενης σχέσης (CVT) με ιμάντα, αντί για μονάδα σύστημα μετάδοσης άμεσης κίνησης. Είναι μια ενδιαφέρουσα προσέγγιση για ένα ηλεκτρικό όχημα.
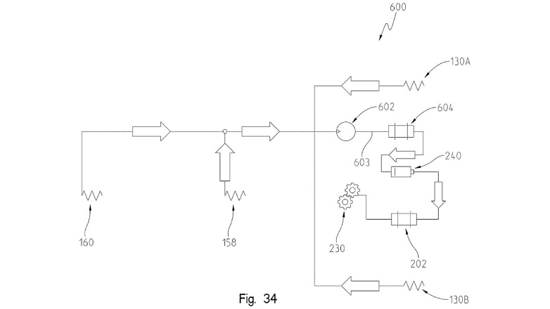
Επίσης ενδιαφέρον είναι η αναφορά σε ένα Σύστημα Ανάκτησης Κινητικής Ενέργειας (KERS) το οποίο προέρχεται από την τεχνολογία της Formula 1. Το δίπλωμα ευρεσιτεχνίας δηλώνει, «Η Εικόνα 34 απεικονίζει την ενδεικτική τοποθέτηση των εξαρτημάτων ενός συστήματος ανάκτησης κινητικής ενέργειας του ενδεικτικού snowmobile της Εικόνας 1».

Το KERS εισήχθη στην Formula 1 με την άφιξη της υβριδικής εποχής, όπου το σύστημα φόρτιζε μια μπαταρία και επέτρεπε στους οδηγούς να απελευθερώσουν επιπλέον ιπποδύναμη για σύντομες χρονικές περιόδους, δηλαδή κατά την επίθεση στους αντιπάλους τους για να τους προσπεράσουν. Η βασική αρχή δεν διαφέρει πολύ από το πώς λειτουργεί η αναγεννητική πέδηση σε ηλεκτρικά ή υβριδικά οχήματα, φορτίζοντας την μπαταρία του οχήματος για επιπλέον αυτονομία.
Το πώς λειτουργεί όμως αυτό το σύστημα και αν θα χρησιμοποιείται για επιπλέον αυτονομία ή για επιπλέον ισχύ ή και για τα δύο, μένει να το δούμε.
Το πότε η Polaris σκοπεύει να κυκλοφορήσει αυτό το ηλεκτρικό snowmobile επίσης παραμένει ασαφές, καθώς η εταιρεία αποκάλυψε πρόσφατα τα μοντέλα του 2026 μόνο την περασμένη εβδομάδα. Αυτό σημαίνει ότι δεν θα δούμε αυτό το snowmobile πριν το τέλος του χρόνου το νωρίτερο, και το πιο πιθανό είναι να το δούμε στις αρχές του επόμενου έτους. Αλλά πιστεύουμε ότι θα δοθούν πιο σύντομα κάποια επιπλέον τεχνικά χαρακτηριστικά και τα πλεονεκτήματα της ευρεσιτεχνίας, από τη στιγμή που έχει δημοσιοποιηθεί.
