Η Audi κατέθεσε πρόσφατα αίτηση πατέντας για ένα φορητό karaoke module που μπορεί να χρησιμοποιηθεί τόσο εντός όσο και εκτός του αυτοκινήτου, σηματοδοτώντας μια πιθανή στροφή στις δυνατότητες ψυχαγωγίας που προσφέρουν τα οχήματα σήμερα. Η εξέλιξη αυτή, η οποία εμφανίστηκε σε πρόσφατη δημοσίευση πατέντας στις αρχές του 2026, επιβεβαιώνει το αυξανόμενο ενδιαφέρον των κατασκευαστών αυτοκινήτων για λειτουργίες πέραν της απλής μετακίνησης και εστιάζει στη συνεχή εμπλοκή και ψυχαγωγία των επιβατών.
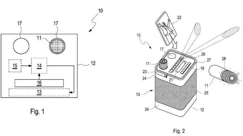
Σύμφωνα με τα στοιχεία που προκύπτουν από τις καταχωρίσεις ευρεσιτεχνιών, το σύστημα αποτελείται από μια φορητή μονάδα karaoke με ενσωματωμένα ηχεία, τουλάχιστον ένα μικρόφωνο, ηλεκτρονική μονάδα ελέγχου και επαναφορτιζόμενη πηγή ενέργειας. Το module έχει σχεδιαστεί ώστε να μπορεί να αφαιρείται από έναν ειδικό υποδοχέα στο αυτοκίνητο και να λειτουργεί αυτόνομα σε διάφορα περιβάλλοντα, όπως σε έναν προορισμό ή υπαίθρια. Όταν όμως είναι εγκατεστημένο στο όχημα, το σύστημα μπορεί να χρησιμοποιεί τα ηχοσυστήματα του αυτοκινήτου για την αναπαραγωγή ήχου, αξιοποιώντας την κεντρική κονσόλα και το infotainment σύστημα για προβολή στίχων κτλ.

Το ενδιαφέρον στοιχείο αυτής της πατέντας είναι η διπλή λειτουργικότητα του module: όταν τοποθετείται στον υποδοχέα εντός του αυτοκινήτου, αξιοποιεί το υπάρχον σύστημα ήχου και την οθόνη του οχήματος για πλήρη karaoke εμπειρία, ενώ όταν αποσπάται γίνεται ένα αυτόνομο karaoke σύστημα με ενσωματωμένα ηχεία. Αυτή η ευελιξία πιθανώς στοχεύει στην επικοινωνία με σύγχρονες ανάγκες χρήσης, όπου οι επιβάτες αναζητούν ψυχαγωγία σε ταξίδια αλλά και όταν φτάνουν στον προορισμό τους.
Δεν υπάρχουν επί του παρόντος πληροφορίες για το πότε το karaoke module θα φτάσει στην παραγωγή ή σε ποια μοντέλα πιθανόν θα διατεθεί. Η κατάθεση πατέντας δείχνει ότι η Audi διερευνά την τεχνολογία σε θεωρητικό επίπεδο, και συχνά πολλά στοιχεία από τέτοιες αιτήσεις δεν μεταφέρονται αυτούσια στις τελικές εμπορικές εφαρμογές. Παρ’ όλα αυτά, η εξέλιξη υπογραμμίζει την τάση προς ολοκληρωμένα συστήματα ψυχαγωγίας που επεκτείνονται πέρα από την παραδοσιακή χρήση του αυτοκινήτου, ενσωματώνοντας χαρακτηριστικά που μέχρι τώρα ήταν συνηθισμένα σε στατικά φορητά προϊόντα.

Να θυμίσουμε βέβαια πως η Audi, έχει εξοπλίσει ήδη αρκετά μοντέλα της με ενσωματωμένο karaoke πρόγραμμα, μέσα από την εφαρμογή Stingray στο infotainment.
Πηγή: Carbuzz

