Του Νεκτάριου Διατσίδη
Το ημιαυτόματο κιβώτιο ταχυτήτων της KTM χρησιμοποιεί φυγοκεντρικό συμπλέκτη και περιλαμβάνει σύστημα κλειδώματος για να αποτρέπει την κύλιση της μοτοσυκλέτας.
Καθώς αυτό το δίπλωμα ευρεσιτεχνίας σχετίζεται με τον κινητήρα της KTM LC8 V-twin, θα μπορούσε να φτάσει και στα μοντέλα 1290 Super Adventure S, Super Adventure R, 1290 Super Duke R και 1290 Super Duke GT. Η άποψη της KTM για το πώς θα πρέπει να λειτουργεί ένα ημιαυτόματο κιβώτιο είναι αυτό να χρησιμοποιεί βραχίονες, φυγοκεντρικό συμπλέκτη και ξεχωριστή μονάδα ελέγχου ταχυτήτων για να αλλάζει τις ταχύτητες. Είναι ενδιαφέρον ότι το σύστημα περιλαμβάνει επίσης μια μορφή χειρόφρενου, που εμποδίζει την μοτοσυκλέτα να κυλήσει σε κατηφόρα αλλά και να έχει κάποια προστασία από κλοπή.



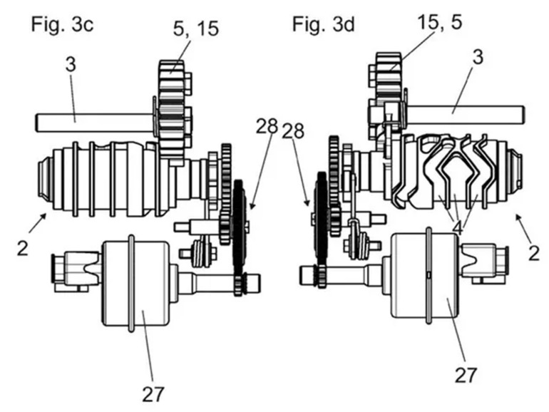
Ημιαυτόματο κιβώτιο ταχυτήτων KTM με θέση στάθμευσης.
Το «φρένο στάθμευσης», το οποίο φαίνεται σαν μια απλή ιδέα θα μπορούσε πραγματικά να είναι πολύ χρήσιμο. Το σύστημα της KTM ωστόσο χρησιμοποιεί έναν μοχλό σχήματος L που ασφαλίζει φυσικά τα κινούμενα γρανάζια στη θέση τους. Αυτό το σύστημα δεν μπορεί να απενεργοποιηθεί εάν είναι ενεργοποιημένο με κάποιον εξωτερικό μηχανικό τρόπο, με αποτέλεσμα να αποτελεί μία καλή άμυνα κατά της κλοπής της μοτοσικλέτας.
Για αυτόματη αλλαγή ταχυτήτων, το σύστημα χρησιμοποιεί έναν ηλεκτροκινητήρα αλλαγής ταχυτήτων για να περιστρέψει τον κύλινδρο αλλαγής ταχυτήτων. Αυτός μετακινεί τις φουρκέτες επιλογής ταχύτητας στην επιθυμητή θέση για να εμπλακεί το κατάλληλο γρανάζι. Το σύστημα περιλαμβάνει επίσης έναν φυγοκεντρικό συμπλέκτη, που επιτρέπει στη μοτοσυκλέτα να ξεκινήσει και να σταματήσει χωρίς να χρειάζεται χειροκίνητο συμπλέκτη.
Ενώ τα διπλώματα ευρεσιτεχνίας αναφέρονται σε αρκετές λεπτομέρειες σχετικά με τη λειτουργία του συστήματος, αυτό που δεν μας λένε είναι πώς ο αναβάτης θα μπορεί να αλλάζει χειροκίνητα τις ταχύτητες. Στο σύστημα της Honda DCT, αυτό γίνεται μέσω κουμπιών στο τιμόνι, αλλά θα ήταν ωραίο να λειτουργούν και από έναν συμβατικό μοχλό ταχυτήτων. Τα κουμπιά στο τιμόνι είναι διασκεδαστικά αλλά αν υπάρχει και η επιλογή να ανεβοκατεβαίνουν από έναν λεβιέ ταχυτήτων στο αριστερό πόδι θα είναι ακόμη καλύτερη η οδήγηση της μοτοσυκλέτας.

Βέβαια το ότι και η ΚΤΜ επιλέγει να πάει προς αυτήν την κατεύθυνση στο κιβώτιο ταχυτήτων είναι αποτέλεσμα της τεράστιας επιτυχίας του DCT της Honda, το οποίο προτιμούν έναντι του συμβατικού το 80% των πελατών της Ιαπωνικής εταιρίας και το οποίο – όπως έχουμε δει και από τις δικές μας δοκιμές – είναι ένα εξαιρετικό σύστημα, που πάντα είχαμε την απορία γιατί δεν το χρησιμοποιούν και οι υπόλοιποι κατασκευαστές. Προφανώς οι πατέντες που προστατεύουν το DCT επιβάλουν να εξελίξεις μια δική σου διαφορετική εκδοχή και αυτό κάνει τώρα η ΚΤΜ
